更换电机和行星齿轮(Z 轴)
前提条件:
- ➢
- 按顺序触摸以下按键:
- a)
- [手动] 菜单;
- b)
- [打磨] 按键;
- c)
- [位置] 选项卡;
- a)
- [服务位置] 按键。
- ⇨
- 滑块移向服务位置。
- a)
- 进入危险区时请遵照章节 进入危险区域。
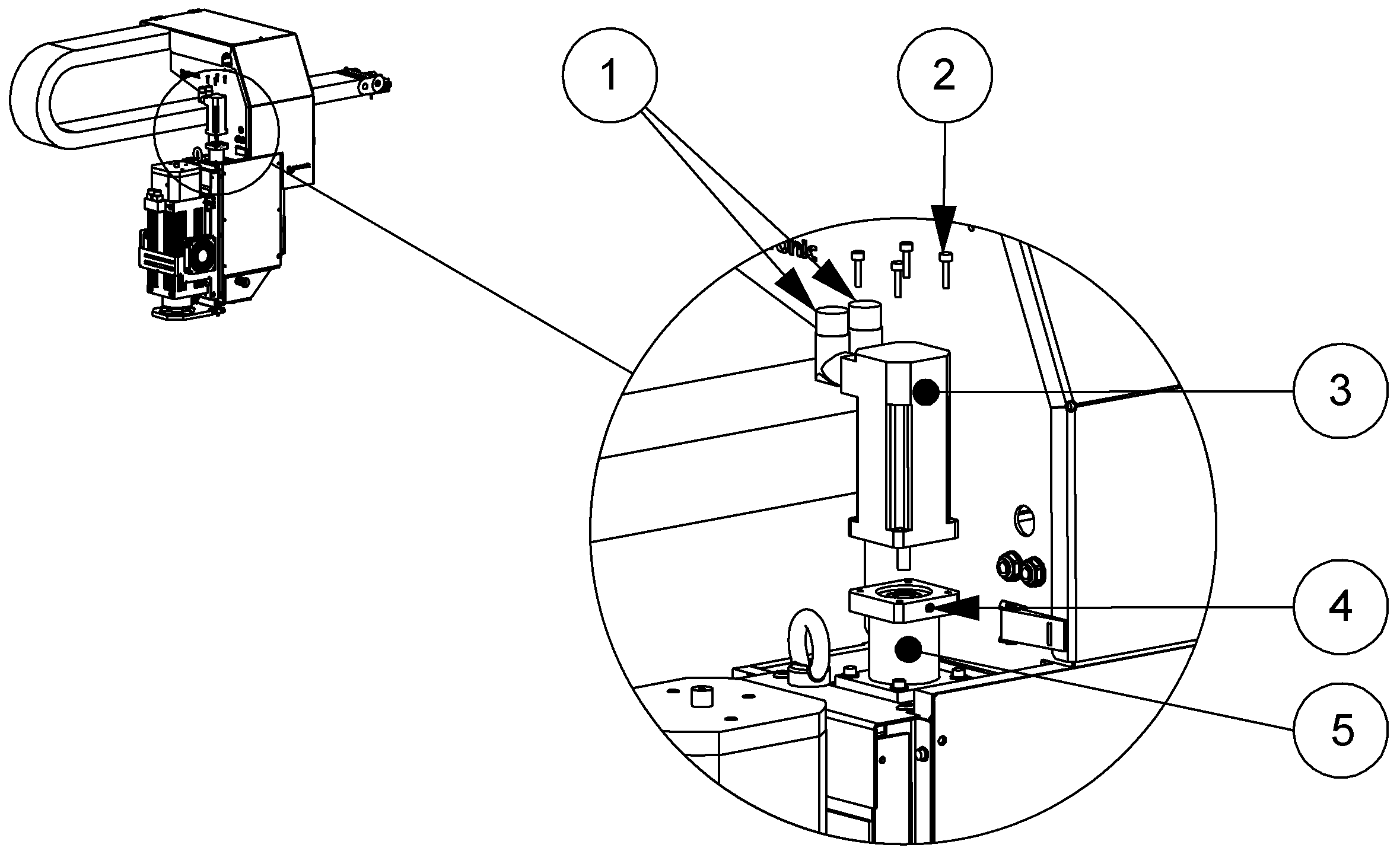
拆卸电机
GMP_WAIN_V01_05_030
- a)
- 移除能源插头和信号插头 (1).
- b)
- 移除密封塞。
- c)
- 通过开口:松开固定螺栓 (4)。
- d)
- 移除螺栓 (2)。
- e)
- 从行星齿轮 (5) 上分离电机 (3)。
安装电机
- a)
- 将新的电机 (3) 安放到行星齿轮 (5) 上。
- b)
- 拧入螺栓 (2) 并将其拧紧。
- c)
- 通过开口 (4):使用扭力扳手将固定螺栓拧紧至 5.6 Nm。
- d)
- 旋入密封塞 (4) 并拧紧。
- e)
- 连接能源插头和信号插头。
- a)
- 遵照章节 离开危险区域 中的说明离开危险区域。
- ➢
- 因为松开了连接 - 电机到导轨:
- a)
- 调整 Z 轴的零点(步骤:见章节 调整 Z 轴的零点)。
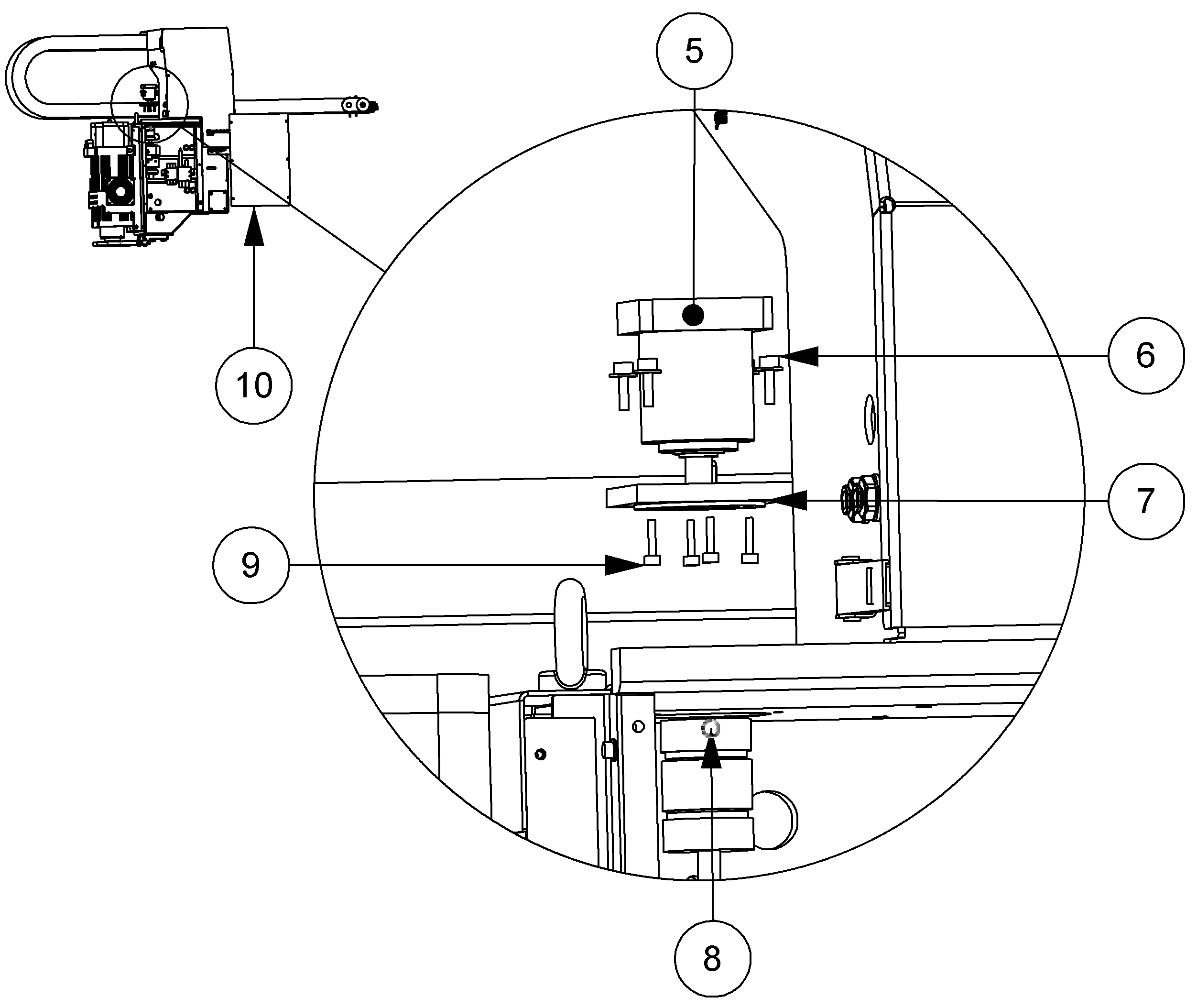
拆卸行星齿轮
前提条件:
GMP_WAIN_V01_05_031
- a)
- 移除盖板 (10)。
- b)
- 松开夹紧螺栓 (8)。
- c)
- 移除螺栓 (6)。
- d)
- 移除行星齿轮 (5) 和法兰 (7)。
- e)
- 移除螺栓 (9)。
- f)
- 移除法兰 (7)。
安装行星齿轮
- a)
- 将法兰 (7) 穿在新行星齿轮 (5) 的轴上。
- b)
- 拧入螺栓 (9) 并将其拧紧。
- c)
- 安装行星齿轮 (5) 和法兰 (7)。
- d)
- 拧入螺栓 (6) 并将其拧紧。
- e)
- 使用扭力扳手将夹紧螺栓 (8) 拧紧至 5 Nm。
- f)
- 安装盖板 (10)。
- g)
- 安装电机。


