更换平传送带导带装置
- a)
- 进入危险区时请遵照章节 进入危险区域。
更换平传送带导带装置
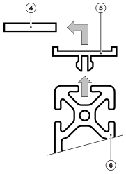
皮带传送导带装置
- a)
- 将平传送带 (4) 从导带装置 (5) 中取出。
- b)
- 将导带装置 (5) 从铝材 (6) 中取出。
- c)
- 将新的导带装置 (5) 装入铝材 (6) 中。
- d)
- 将平传送带 (4) 放入导带装置 (5) 中。
张紧平传送带
- a)
- 顺时针转动螺栓 (3)。
- ⇨
- 平传送带会被张紧。
- b)
- 尝试用手将平传送带向玻璃行进方向推动,检查张力情况。
- ⇨
- 在正确的张力下,这种方式无法推动平传送带。
- c)
- 拧紧螺栓 (1) 和螺母 (2)。
- a)
- 遵照章节 离开危险区域 中的说明离开危险区域。


