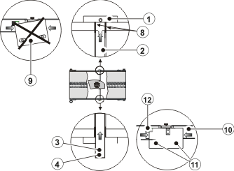
更换掰边板
伸出切割台
- a)
- 将切割-折断机切换至 «手动运行» 模式。
- a)
- 进入危险区时请遵照章节 进入危险区域。
- a)
- 分离真空软管。
- b)
- 操作 «夹紧/松开切割台支架» 开关松开夹紧装置。
伸出切割台
松开边框并从导向装置中拉出
松开边框并从导向装置中拉出
- a)
- 旋松滚花螺钉 (1)。
- b)
- 将滚花螺钉 (4) 从边框的螺纹中拧出,然后将其拧入为其设计的螺纹 (3) 中。
- c)
- 握住滚花螺钉 (4) 从导向装置中拉出边框 (2)。
- d)
- 清洁导向装置;使用干净的抹布进行清洁。
- e)
- 为导向装置稍稍涂抹润滑脂。
- f)
- 将带有掰边板的边框放置在平坦表面上。
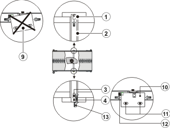
更换掰边板
更换掰边板
- a)
- 移除沉头螺栓 (6)。
- b)
- 将掰边板 (7) 从螺栓 (5) 上抽出。
- c)
- 清洁掰边板;使用干净的抹布进行清洁。
- d)
- 清洁掰边框;使用干净的抹布进行清洁。
- e)
- 为边框稍稍涂抹润滑脂。
- f)
- 将新掰边板小心地安放在螺栓上。
- g)
- 使用沉头螺栓 (6) 固定掰边板。
定位掰边板 - «固定安装» 类型
定位掰边板(类型 1)
- ➢
- 如果无法从切割台左右两侧对模板支架 (10) 进行调整:
- a)
- 将导向装置中的边框 (2) 推至靠在滚花螺钉 (1) 上。
- ⇨
- 边框定位在滚花螺钉处。
- b)
- 拧紧滚花螺钉 (1)。
- c)
- 将滚花螺钉 (4) 从边框的螺纹中拧出,然后将其拧入模板支架的螺纹 (3) 中。
- ➢
- 如果可以从切割台左右两侧对模板支架 (10) 进行调整:
- a)
- 拧松螺栓 (11)。
- ⇨
- 模板支架必须保持水平位置 (9)。
- b)
- 将模板支架移动至所需位置;为此可以用塑料锤轻轻敲击几下。
- c)
- 将导向装置中的边框 (2) 推至靠在滚花螺钉 (1) 上。
- ⇨
- 边框定位在滚花螺钉处。
- d)
- 拧紧滚花螺钉 (1)。
- e)
- 将滚花螺钉 (4) 从边框的螺纹中拧出,然后将其拧入模板支架的螺纹 (3) 中。
- f)
- 拧紧螺栓 (11)。
定位掰边板 - «可调» 类型
定位掰边板(类型 2)
- a)
- 从切割台左右两侧对模板支架 (10) 进行定位。
- b)
- 拧松螺栓 (11)。
- ⇨
- 模板支架必须保持水平位置 (9)。
- c)
- 将模板支架移动至所需位置;为此可以用塑料锤轻轻敲击几下,然后在量表 (12) 上检查位置。
- d)
- 将导向装置中的边框 (2) 移动至所需位置。在量表 (13) 上检查位置。
- e)
- 拧紧螺栓 (11)。
- f)
- 拧紧滚花螺钉 (1)。
- g)
- 将滚花螺钉 (4) 从边框的螺纹中拧出,然后将其拧入模板支架的螺纹 (3) 中。
检查掰边板的位置
- a)
- 操作 «夹紧/松开切割台支架» 开关让夹紧装置夹紧。
- ⇨
- 切割台位于工作位置上时,接近开关会向机器控制器发出相应的信号。
- b)
- 耦合真空开关。
- a)
- 遵照章节 离开危险区域 中的说明离开危险区域。
- a)
- 进行功能检查并检查首个已切割/折断玻璃片的质量;为此请见章节 检查裁形玻璃的质量。
- a)
- 进入危险区时请遵照章节 进入危险区域。
- a)
- 移除板材并通过扫描检查掰边板的轮廓是否与玻璃片的轮廓一致。
- ⇨
- 不允许出现左右颠倒、偏移或偏转情况。
- ➢
- 如果掰边板放置有误:
- a)
- 重新定位或安放掰边板。
- a)
- 遵照章节 离开危险区域 中的说明离开危险区域。







