切割-折断机:刷洗单元
- a)
- 进入危险区时请遵照章节 进入危险区域。
清洁刷洗单元
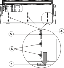
降下刷洗单元
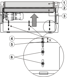
- a)
- 松开锁紧螺母 (5)。
- b)
- 松开带内六角的圆柱头螺栓 (6)。
- c)
- 转动调节螺栓 (4),直至刷洗单元落在支撑件 (7) 上。
- d)
- 倾斜刷洗单元,使其位置能够保证很好地从外部进行操作。
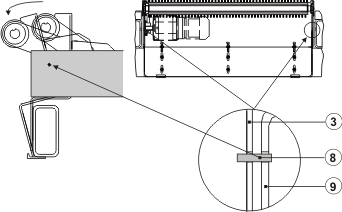
将刷洗单元固定在工作位置上
- e)
- 使用销钉 (8) 固定机器框架的孔 (9) 刷洗单元的孔 (3)。
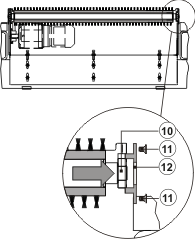
伸出刷轴
- f)
- 移除轴承座 (12) 上的沉头螺栓 (11)。
- g)
- 移除轴承座 (12)。
- h)
- 让刷轴 (10) 伸出。
- i)
- 使用高压蒸汽设备清洁刷洗单元。
拆卸刷体
标记刷体
- a)
- 标记刷体 (1, 2, …)
- b)
- 在外部段处移除螺纹销 (14)。
- c)
- 通过轴 (10) 将外部段伸出。
- d)
- 在末段处移除螺纹销 (13)。
- e)
- 伸出末段。
- f)
- 用压缩空气干燥这十个刷体。
- g)
- 使用常规清洁剂清洁轴 (10);然后对轴 (10) 进行干燥。
安装刷体
- a)
- 按照拆卸的顺序安装这十个分段。
- b)
- 在安装时注意刷体的输送方向:必须向外输送污染颗粒。
安装已清洁的刷体段
- c)
- 将末段(编号十)穿入轴 (10),直至轴的最大直径处。
- d)
- 拧入螺纹销 (13)。
- e)
- 穿入剩余的分段(二至九)。
- f)
- 将外部段放在最后一个分段上。
- g)
- 拧入螺纹销 (14)。
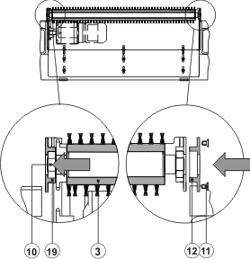
安装刷轴
安装刷轴
- a)
- 小心地将刷洗单元 (3) 的刷轴 (10) 塞入轴承座 (19)。
- b)
- 装上轴承座 (12)。
- c)
- 装上沉头螺栓 (11) 并拧紧。
- d)
- 将销钉 (8) 从孔中取出。
- e)
- 架起刷洗单元。
调整接触压力
调整接触压力
- a)
- 松开锁紧螺母 (5)。
- b)
- 松开带内六角的圆柱头螺栓 (6)。
- c)
- 使用调节螺栓 (4) 抬升刷洗单元,直至刷毛 (2) 仅对传送带 (1) 施加很轻的压力。
- d)
- 测量调节螺栓的距离 «X»。
- e)
- 拧紧锁紧螺母 (5)。
- f)
- 拧紧带内六角的圆柱头螺栓 (6)。
- a)
- 遵照章节 离开危险区域 中的说明离开危险区域。
- ➢
- 当刷毛的高度小于 4 mm 时,
- a)
- 更换刷体段(步骤见章节








