切割桥
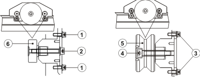
更换导向辊和轴颈辊轮
前提条件:
在驱动侧更换辊轮
- a)
- 移除轴颈辊轮 (6) 的内六角螺栓 (1) 和 (2)。
- b)
- 移除轴颈辊轮 (1)。
- c)
- 稍微抬起切割桥。
- d)
- 移除导向辊 (5) 的内六角螺栓 (3) 和 (4)。
- e)
- 移除导向辊 (5)。
- f)
- 用清洗汽油清洁所有孔;然后用干燥、干净的压缩空气将其吹净。
- g)
- 装上新的导向辊 (5)。
- h)
- 拧入内六角螺栓 (3) 和 (4) 并拧紧。
- i)
- 小心地放下切割桥。
- j)
- 装入新的轴颈辊轮 (6)。
- k)
- 拧入内六角螺栓 (1) 和 (2) 并拧紧。
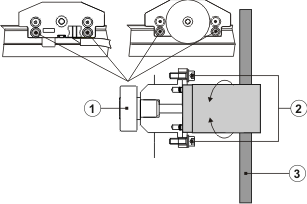
调整导向辊和滑轮
前提条件:
切割桥 - 调整导向辊和滑轮
- a)
- 稍微松开内六角螺栓 (1)。
- b)
- 使用专用工具 (2) 转动导向辊 (3) 和滑轮 (4)。
- c)
- 使用十字水平尺检查水平状态,并用千分表检查齿隙。
- d)
- 拧紧内六角螺栓 (1)。
- e)
- 再次检查设置。
- ➢
- 必要时:
- a)
- 重复调整过程。
更换滑轮和轴颈辊轮
前提条件:
在能源侧更换辊轮
- a)
- 移除辊轮 (1) 的内六角螺栓 (5) 和 (6)。
- b)
- 移除辊轮 (1)。
- c)
- 用清洗汽油清洁所有孔;然后用干燥、干净的压缩空气将其吹净。
- d)
- 装上新的辊轮 (1)。
- e)
- 拧入内六角螺栓 (6) 和 (5) 并拧紧。
- f)
- 对辊轮 (2)、(3) 和 (4) 重复此过程。
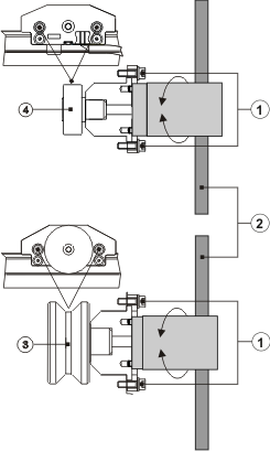
调整轴颈滑轮
切割桥 - 调整轴颈滑轮
- a)
- 在导向装置上挡住切割桥驱动侧和能源侧的轴颈滑轮。
- b)
- 稍微松开内六角螺栓 (1)。
- c)
- 使用专用工具 (2) 调整轴颈滑轮 (3);然后将其向后转动约 10 mm。
- d)
- 小心地手动推动切割桥,让其通过整个导向支架。然后用另一只手握紧轴颈滑轮。
- e)
- 拧紧内六角螺栓 (1)。
导向装置、齿杆和小齿轮
- a)
- 遵照章节 离开危险区域 中的说明离开危险区域。





